
EM730 系列变频器用户手册
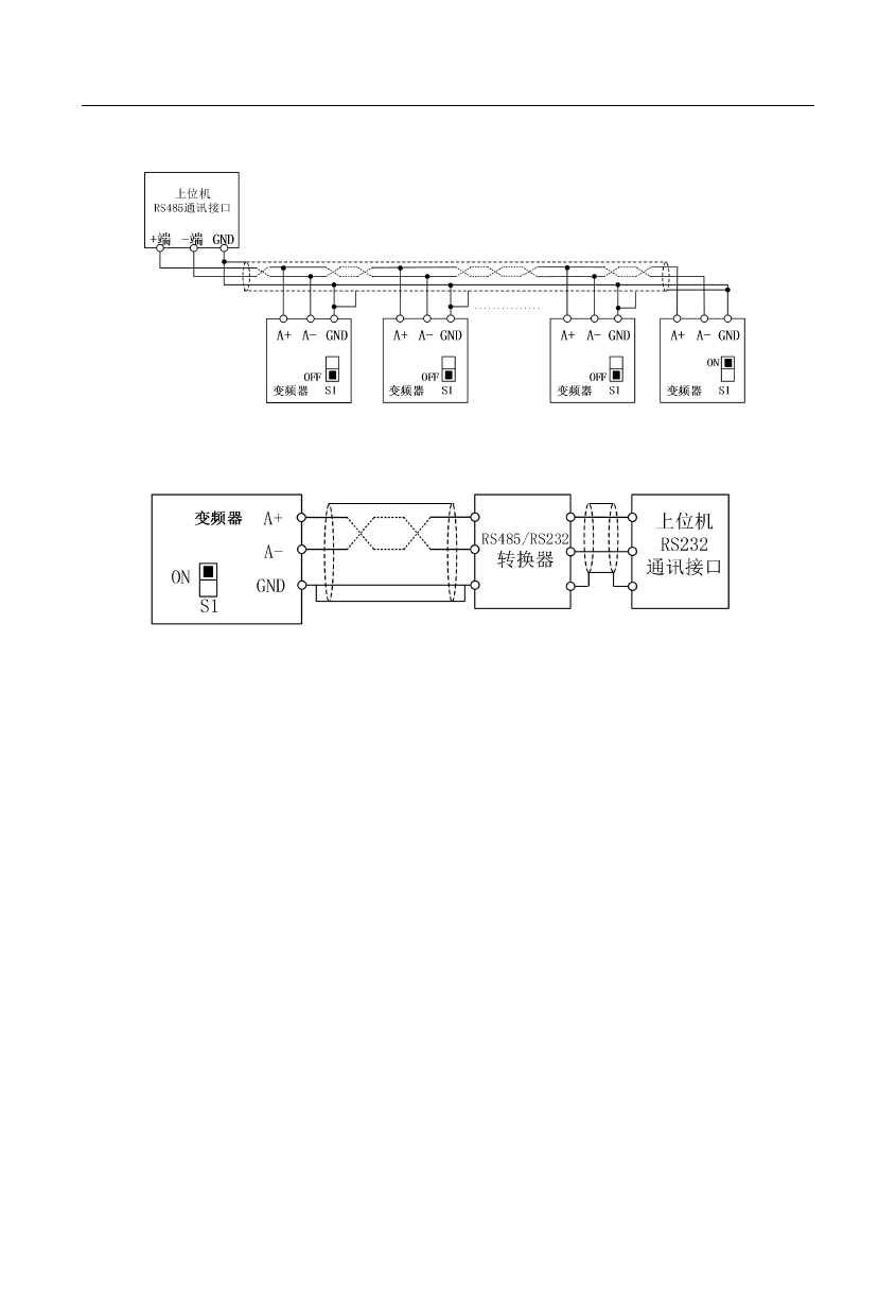
多台变频器 RS485 端子与上位机连接通讯:
图 3- 17 多台变频器通讯端子配线
通过 RS485/RS232 转换器与上位机连接通讯:
图 3- 18 通讯端子配线
3.4.3 控制回路电线和螺钉尺寸
为减小控制信号的干扰和衰减,控制信号的连线长度应限制在 50m 以内,并与
动力线的间隔距离要大于 30cm。从外部输入模拟信号时请使用双绞屏蔽线。
控制回路导线建议使用线径 0.5~1 mm2 的导线。
EM730 系列变频器端子板为贯通式控制回路接线端子,请使用 PH0 十字螺丝刀
进行安装,紧固力矩为 0.5N.m。
3.4.4 控制回路接线注意事项
将控制回路连接线与其它导线分开独立走线。
控制回路端子 EA、EB、EC、Y1 的连线请与其他控制回路端子分离走线。
为避免干扰引起的误动作,控制回路连接线应采用绞合的屏蔽线,接线距离应
小于 50m。
切勿将屏蔽网接触到其它信号线及设备外壳,可用绝缘胶带将裸露的屏蔽网封
扎。
在无静电防护措施下禁止触摸控制板各端口及各元器件。
42








