
EM730 系列变频器用户手册
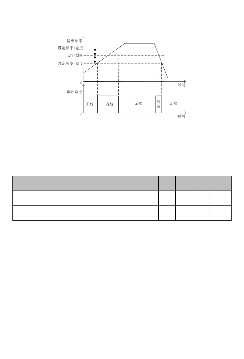
图 7- 36 FAR 检测示意图
如图 7- 所示,当多功能输出端子或继电器输出设定为“2:输出频率到达
(FAR)”时,变频器运行期间,若|输出频率|与|给定频率|差值的绝对值小于等于
FAR 检出宽度(F15.20)的设定值时,对应功能端子输出有效电平。否则,输出无效
电平。
功能码
功能码名称
参数说明
F15.21 输出频率检测 FDT1
F15.22 FDT1 滞环
F15.23 输出频率检测 FDT2
F15.24 FDT2 滞环
0.00~最大频率 F00.16
-(Fmax-F15.21)~F15.21
0.00~最大频率 F00.16
-(Fmax-F15.23)~F15.23
属 通讯地
单位 出厂值
性址
Hz 30.00 〇 0x0F15
Hz 2.00 〇 0x0F16
Hz 20.00 〇 0x0F17
Hz 2.00 〇 0x0F18
216








